编号32:一种气液固三相旋流分离器

发稿时间:2019-04-27浏览次数:410

成果名称:一种气液固三相旋流分离器

研发人员:吴允苗

所属领域:化工机械

完成单位:开云kaiyun官网

成果简介:

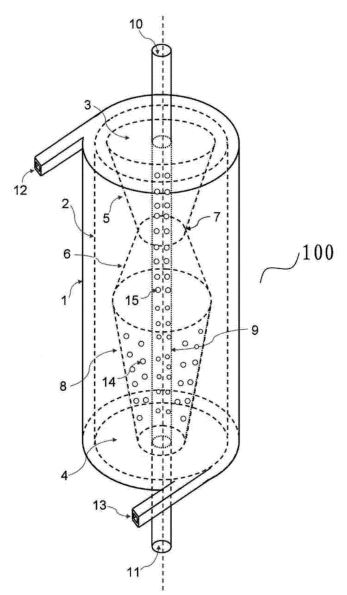
本成果已申请一项实用新型专利,该实用新型涉及一种应用于石油、化工、食品、造纸等领域中可实现气固三相间高效分离的装置,具体的说是涉及一种旋流式气液固三相分离装置。该实用新型主要解决分离器体积大、结构复杂、以及集液孔、排气孔易被固相物体堵塞等缺点,具有分离效率高、设备体积小、结构简单紧凑、不易堵塞等突出优点。

技术成熟度:

实用新型专利(专利号:ZL201420185334.6)。