编号29:气液两相旋流分离器及其旋流分离腔

发稿时间:2019-04-27浏览次数:372

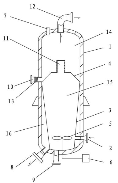
成果名称:气液两相旋流分离器及其旋流分离腔

研发人员:吴允苗/朱君秋

所属领域:化工机械

完成单位:开云kaiyun官网

成果简介:

本成果已申请一项实用新型专利,该实用新型公开一种气液两相旋流分离器以及采用上述结构的旋流分离腔。该实用新型的有益效果在于当带有一定压力和速度的气液混合物通过位于旋流分离腔的下部的物料进口进入旋流分离腔,在腔体内部由下向上形成向上螺旋运动的旋转流,从旋流开始气液混合物主要集中在腔体中下部,能有效避免部分气体随旋流流体被带出旋流分离腔,提高分离效果。

技术成熟度:

实用新型专利(申请号:201520133140.6)。